|
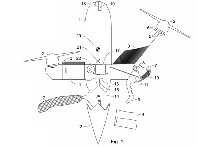
Drone interceptor with a net gun This drone interceptor is designed to catch light UAVs. High power-to-weight ratio is a competitive advantage of this concept. It allows the drone to fly fast. Before an attack, the target can be circumflown for identification. Drone rotors are used to spread the net. High-energy rotors allow the use of a larger net. At the moment of attack, the rotors accelerate and detach from the frame. At the same time, the net fastening straps are released. The Kevlar net blocks the target's rotors and disrupts the glider control. After an attack, the interceptor descends using a parachute and emits a sound signal. The interceptor can be reused. The interceptor does not contain any prohibited components. Racing drone components were used. The interceptor is launched from the container. Several containers with interceptors can be placed on a patrol car. A racing pilot can single-handedly operate the complex. The attack mechanism involves a chain of unique mechanical units. The technical reliability of the prototype is approximately 70%. Realistic development path: a couple of years to improve the airframe (demonstrations under our control); several years to prepare a stand-alone version for wealthy clients (a multimillionaire can show such a toy to guests on his yacht); several years to achieve the reliability of military equipment; a couple of years to reduce production costs for large-scale placement. ![]() ![]() ![]() ![]() ![]() Interceptor drone in the press: sUAS News, TechCrunch, GIZMODO, Drone Watch, Government technology, New Atlas, Avalanche Noticias, Life Hacker, Go4it, cnBeta, es Postsus, el Espanol, 20minutos, MundoConectad, Drone-Zone, Futura Sciences, BUG, Dday, TEKNOMERS, Gerente, NexTech, BirMilyon Haber, DroneXl, Tech Doxx, 3D News, Hightech, YahooNews, Yandex, Bus-Lunch, Quadricottero News, Meet Ivia, Technologijos, Lietuvos Rytas, HackaDay, MeteoWeek, 4pda, Channel969, RoboTrends, BuildingTech, NanoNewsNet, TechCult, Raketa, Napi, LifeNews, Begeton, InternetUa, Bigumigu, FlashNews11, Trend Hunter, HiTech Glitz, Best University Info, Quick Telecast, AutoEvolution, SHKMGMCNUH, Techno Blender, Tech X, News Vex, NTIQUER, Wdc News 6, GameNews24, Big Boss News, More News Online, WeWeat, Business Traverse, Khizer Tariq, News Net Daily, Tech4SEO, Hitecher, Latest News, Airvers Tech News, Universelol, Inceptive Mind, DroneDj, AvalancheNoticias, CopyFuture, NewsExplorer, GamingDeputy, DroneBlog, The US Sun, Wonderful Engineering, SMART Maker, DroneZine, Gigadgets and others. |